
IT之家12月23日音讯 近来大疆一项名为“Vehicle”的新专利曝光,这是一个类似于可以搭载万向支架的RC车。
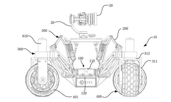
专利描绘的是类似于一辆顶部装有摄像头的机动周游车。依据专利阐明,这辆车好像配有大而巩固的车轮,暗示其规划可以习惯越野运用,以及搭载一系列减震器,以削减振荡。相机车看起来像具有四个360度旋转车轮的规范RC轿车,可以完成愈加严厉的控制。车轮经过可以上下移动的杆与摄像头别离开来,然后削减摄像头的颤动。摄像机放置在车顶部,其下方有一个阻尼器,支架上还有减震器以更好地消除颤动。摄像头好像也能进行替换的。车辆的底盘可以精确的经过行进速度、路途状况而升高或许下降,然后习惯各种行进状况。
大疆在无人机和云台方面的产品大名鼎鼎,但该公司也常常探究一些其他产品品类,尽管专利并不代表一定会成为产品推向市场,但相机车这个概念仍是很令人等待的。