• 首页
  • 要闻
  • 加盟
  • 评测
  • 技术
  • 机油
  • 电脑
  • 报价
  • 汽车
  • 新车
  • 养护
  • 智能
  • 生活
    • APP下载
    • 搜索

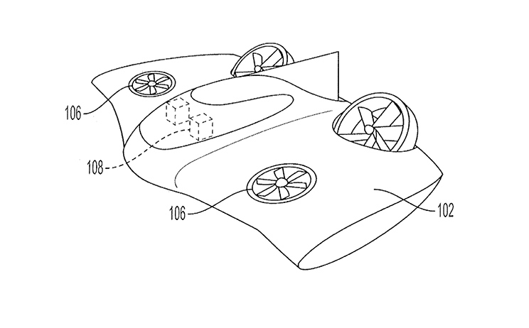
    联手波音公司保时捷飞行器专利图曝光

    网易汽车责任编辑NO。魏云龙0298
    2020-01-20 23:50:42  阅读:5669+

    版权声明:

    热文

    • 吉利向欣旺达索赔23亿,撕开了电池质量安全的遮羞布
    • i60首月销量破万 埃安12月销量突破4万辆
    • 让全家出行更轻松 抢先试驾星光560燃油版
    • 2025《财富》中国500强峰会在上海圆满落幕
    • 2025上海车展:隐形生物识别传感显示屏首次在亚洲公开展示,可监
    • 庞巴迪BRP(中国)2025新品预售开启 开启户外动力新纪元
    关于我们 加入我们 合作伙伴 广告及服务 常见问题解答 防网络诈骗专题
    (c)2008-2015 汽车大时代 All Rights Reserved