您当前的位置:汽车大时代 > 要闻

添加黑色套件新天籁午夜版申报图曝光

2020-01-21 02:48:46
版权声明:

路咖与车新款凯迪拉克XT4值得买吗尽管它只换了色彩

2020-01-21 00:21:00
这两年,奢华入门级车型发展迅速,各大奢华车企都抓住在紧凑型SUV范畴的布局,那在这个规模里,你最早想到的车型是什么?是宝马X

2019年日德系豪夺半壁河山自主两极分化严峻

2020-01-20 23:50:57
(原标题:上一年日系车在华销量首破500万辆,多个自主品牌面对退市)回忆刚刚曩昔的2019年,车市隆冬之下,“难”成为了各大车

每日易乐年末回家同学聚会不买辆车咋行呢?

2020-01-20 23:50:46
网易轿车归纳1月120日报导放大镜仔细看,这是咋印上去的?你能脑补出屁股和玻璃摩擦出的声响吗?你认为它是什么?实际上人家仅仅

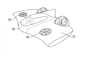
联手波音公司保时捷飞行器专利图曝光

2020-01-20 23:50:42
版权声明:

情暖人世广汽三菱爱不缺席演出公益团圆之旅

2020-01-20 23:50:41
网易轿车归纳1月20日报导 新年将至,再大的事也抵不过“回家”二字,团圆无疑是亿万国人心里一同的期盼。2020年,广汽三菱聚集坚

疑似戈恩两名同行者别离持美国/黎巴嫩护照

2020-01-20 23:50:21
(原标题:疑似戈恩两名同行者视频曝光,别离持美国、黎巴嫩护照)记者 |李亦萌1月17日,据央视新闻报导中播映的一段土耳其安全

称雄56年这台神车竟然是个意外

2020-01-20 23:05:24
保时捷品牌世人皆知,911也如此。作为品牌的图腾,911车系阅历了56年风雨,至今仍是“神一般”的存在,而它的诞生,是一个歪打正

新年开车回家一定要查看轿车3个当地否则或许亲人两行泪

2020-01-20 22:41:12
新年开车回家,一定要查看轿车3个当地,否则或许“亲人两行泪”!今日现已2020年1月19号,这样一算的话,间隔新年的时刻还剩余五

春节回家什么都可以不带但必定要带它

2020-01-20 22:40:55
小年往后,年味渐浓。这也代表着外出流浪的游子离归期又近了一步。刚入职场的年青小伙,用自己第一个月工资给爸爸妈妈买了新衣服

全国最难考驾照的城市很少有人一把过当地人很无法

2020-01-20 20:21:14
现在咱们只需满了18周岁之后,必定去考一个驾照,由于c1驾照对咱们来说实在是太重要了,尽管考了驾照之后,咱不一定开车,但就怕

预售24.8万起长安林肯冒险家将3月份上市

2020-01-20 18:01:30
版权声明:

全新GMCYUKON/YUKONXL发布增AT4越野版

2020-01-20 18:01:06
版权声明:

交通运输部回应ETC不显现全程车费完善推送设置

2020-01-20 18:00:54
(原标题:交通运输部回应ETC不显现全程车费:完善信息推送设置)新京报讯(记者 秦胜南)自本年1月1日起,我国撤销高速公路省界

选车时你重视过耐久性吗告知你小排量高耐久究竟好在哪

2020-01-20 16:30:10
得益于国家购置税优惠减免以及越发苛刻的环保规范等方针的影响,近些年小排量轿车的开展接连10余年坚持安稳添加。依据威望查询组

22.4万提了辆丰田亚洲龙开了3280公里后车主我只想说四个字

2020-01-20 15:59:56
前语:22.4万提了辆丰田亚洲龙,开了3280公里后,车主:我只想说四个字!我们好,我是丰田亚洲龙车建议相和,我提的是2.0L尊享型

特斯拉启示录①起跑线上开端的上海速度

2020-01-20 15:08:48
当年开工、当年竣工、当年投产、当年上市!2019年,特斯拉上海超级工厂发明了全球轿车制作职业奇观,一同也把上海面向了国际。特

全新K5/K3纯电9月上市起亚发布新车规划

2020-01-20 15:07:55
版权声明:

坐经济舱的轿车大佬表面不风景心里更沧桑

2020-01-20 14:26:32
刘晓林/文从北京到上海的国航机票,公务舱2360元,经济舱1630元,这730元的差价,是一家市值近40亿美元的电动轿车公司副总裁出

故宫炫富引热议奔跑大G为何屡遭躺枪

2020-01-20 09:31:00
版权声明:

颜值与功能担任的自主纯电SUV表里兼修的Ta们会成为日子中的好同伴

2020-01-20 07:59:34
关于买车这件事而言,二十多年前能买车就很牛,而前几年,跟着自主品牌不断发力,买车的挑选性也大了,性价比也高了,平等价位可